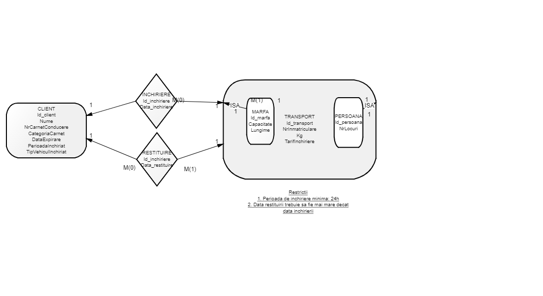
ex1 lab4

Public